DISPOSITIVO EVALUADOR Y ENTRENADOR DE HABILIDAD EN EL USO DE CONMUTADORES APLICADOS A LA REHABILITACION E INTEGRACION DE DISCAPACITADOS MOTRICES.

  1. Inventors:
  2. DIAZ HERNANDEZ, PEDRO
  3. VERA REPULLO, JOSE ALFONSO
  4. Miguel Moreno Cava
  5. FERNANDEZ MEROÑO, JOSE MARIA
  6. ROCA DORDA, JOAQUIN JOSE
  1. Universidad de Murcia
    info
    Universidad de Murcia

    Murcia, España

    Geographic location of the organization Universidad de Murcia
ES
Publicación principal:

ES2107344A1 (16-11-1997)

Otras Publicaciones:

ES2107344B1 (01-08-1998)

Solicitudes:

P9402268 (03-11-1994)

DISPOSITIVO EVALUADOR Y ENTRENADOR DE HABILIDAD EN EL USO DE CONMUTADORES APLICADOS A LA REHABILITACION E INTEGRACION DE DISCAPACITADOS MOTRICES.

Abstract

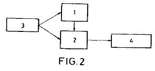
DISPOSITIVO EVALUADOR Y ENTRENADOR DE HABILIDAD EN EL USO DE CONMUTADORES APLICADOS A LA REHABILITACION E INTEGRACION DE DISCAPACITADOS MOTRICES. PERMITE ENTRENAR Y EVALUAR LAS APTITUDES DE UN DISCAPACITADO EN LA PULSACION DE UN CONMUTADOR (6). CUENTA CON UNA UNIDAD CONTROLADORA DE PULSOS (1) CONECTADA A UNA FUENTE DE ALIMENTACION (3) Y A UNA UNIDAD DE MOTIVACION LUDICA (2) QUE PERMITE LA ACTIVACION DE ELEMENTOS LUDICOS (4) EN FUNCION DE LAS CONDICIONES DE PULSACION PROPUESTAS. DICHAS CONDICIONES SE ESTABLECEN Y VARIAN MEDIANTE LOS CONTROLES (19, 20 Y 23) DE LA UNIDAD CONTROLADORA DE PULSOS (1) Y SE REFIEREN BASICAMENTE AL ESTABLECIMIENTO DE UN TIEMPO MINIMO A SUPERAR EN LA PULSACION (SENSIBILIDAD) Y DE UN TIEMPO DE REFERENCIA RESPECTO DEL CUAL SE CATALOGA LA PULSACION EFECTUADA COMO CORTA, MEDIA O LARGA.

INVENES: P9402268