DISPOSITIVO GENERADOR DE CORRIENTE GALVÁNICA CÍCLICA

  1. Erfinder:
  2. Jose Antonio Garcia Vidal
  3. Francisco Medina Mirapeix
  1. MEDI-K NEW SOLUTIONS, S.L
ES
Publicación principal:

ES2953166A1 (08-11-2023)

Otras Publicaciones:

ES2953166B2 (07-10-2024)

Solicitudes:

P202330278 (03-04-2023)

DISPOSITIVO GENERADOR DE CORRIENTE GALVÁNICA CÍCLICA

Zusammenfassung

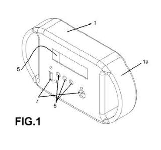
Dispositivo generador de corriente galvánica cíclica destinado al tratamiento mediante la aplicación de corrientes eléctricas para el tratamiento de patologías, lesiones y/o alteraciones cutáneas; y que comprende una carcasa (1) sirve de alojamiento y protección para una placa electrónica con un microcontrolador (2) asociado a un firmware que genera unos ciclos de corriente galvánica, y donde todo ello se encuentra alimentado por una batería (3) de litio con puerto de carga y controlada por un interruptor (4); y donde en su parte externa, la carcasa (1) incorpora una pantalla de visualización (5) para la visualización del programa o programas predefinidos, así como los parámetros técnicos de la salida de corriente; e incorpora a su vez unos medios de actuación (6) acoplado a la parte externa de la carcasa (1) que permiten la selección del programa, la navegación por el firmware, y el control del inicio y final de la aplicación.

INVENES: P202330278